File list
This special page shows all uploaded files.
First page |
Previous page |
Next page |
Last page |
| Date | Name | Thumbnail | Size | User | Description | Versions |
|---|---|---|---|---|---|---|
| 18:31, 20 April 2024 | Etablis 2.jpeg (file) | 313 KB | Philoux | place de labo électronique à fixme | 1 | |
| 18:30, 20 April 2024 | Etablis 1.jpeg (file) | 299 KB | Philoux | place de labo à Fixme | 1 | |
| 22:14, 18 March 2024 | SEM-poster-bg-2-preview.jpg (file) | 753 KB | Philoux | Logo réalisé par Sacha sur les soirées SEM | 1 | |
| 07:13, 29 February 2024 | Fixme-pv-ag-2024.pdf (file) | 20 KB | Rorist | 1 | ||
| 07:12, 29 February 2024 | Fixme-slides-ag-2024.pdf (file) | 264 KB | Rorist | 1 | ||
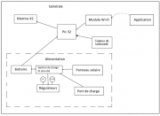
| 23:54, 15 November 2023 | BlocDiagrammes.PNG (file) | 37 KB | Philoux | Pour le projet du Totem | 1 | |
| 23:20, 10 November 2023 | As tu pense a eteindre.pdf (file) | 22.85 MB | Sasha | Poster for fixme power consumption | 1 | |
| 23:58, 20 October 2023 | CroquisTotem.PNG (file) | 172 KB | Philoux | 1 | ||
| 23:21, 12 June 2023 | Noise-2023.png (file) | 3.88 MB | Rorist | 1 | ||
| 04:42, 25 March 2023 | Ins23-results.png (file) | 4.37 MB | Rorist | 1 | ||
| 01:11, 19 March 2023 | Orbital-todo.png (file) | 527 KB | Binary Brain | fix typos | 4 | |
| 15:48, 14 March 2023 | Koenig-B01151 Microwave.pdf (file) | 2.65 MB | Poti | Four micro-onde Koenig avec grill et air chaud | 1 | |
| 23:55, 26 February 2023 | Orbital-Portable-tripod.jpg (file) | 969 KB | Binary Brain | A third leg has been added to the frame to support it on its own. | 1 | |
| 23:52, 26 February 2023 | Orbital-Portable-Done.jpg (file) | 1.7 MB | Binary Brain | The complete work of Orbital Portable | 1 | |
| 23:49, 26 February 2023 | Orbital-Portable-Rpi-Bracket.jpg (file) | 1.17 MB | Binary Brain | Special-made bracket for the Raspi Zero of Orbital Portable | 1 | |
| 23:47, 26 February 2023 | Orbital-Portable-Paint.jpg (file) | 1.07 MB | Binary Brain | Painting the Orbital Portable frame | 1 | |
| 23:45, 26 February 2023 | Orbital-Portable-Brackets.jpg (file) | 576 KB | Binary Brain | An Orbital Approved Employee screwing some aluminum brackets to hold the LED strip | 1 | |
| 23:39, 26 February 2023 | Orbital-Portable-Marking.jpg (file) | 1.35 MB | Binary Brain | Orbital Portable with the LED strip on top of it to mark where aluminum brackets will be placed. | 1 | |
| 23:37, 26 February 2023 | Orbital-Portable-Frame-Rope.jpg (file) | 1.02 MB | Binary Brain | A rope is keeping every element apart with an angle of 45° to ease the deployement of Orbital Portable. | 1 | |
| 23:31, 26 February 2023 | Orbital-Portable-folded-frame.jpg (file) | 889 KB | Binary Brain | The wooden frame of Orbital Portable, folded | 1 | |
| 23:28, 26 February 2023 | Orbital-Portable-Wooden-Star.jpg (file) | 1.51 MB | Binary Brain | The wooden frame of Orbital Portable | 1 | |
| 23:22, 26 February 2023 | Orbital-Portable-Diffuser.jpg (file) | 766 KB | Binary Brain | LED Strip diffuser used for Orbital Portable | 1 | |
| 22:59, 26 February 2023 | Orbital-stucture-installed-on.jpg (file) | 2.59 MB | Binary Brain | Orbital structure suspended from the ceiling and turned on | 1 | |
| 22:53, 26 February 2023 | Orbital-stucture-installed.jpg (file) | 1.88 MB | Binary Brain | Orbital structure installed but turned off | 1 | |
| 20:07, 26 February 2023 | Orbital-structure-zipties.jpg (file) | 1.13 MB | Binary Brain | How the LED strip of Orbital is attached to the aluminum structure. | 1 | |
| 19:48, 26 February 2023 | Orbital-structure-screw.jpg (file) | 844 KB | Binary Brain | This is how flat aluminum extrusions are held together to form the circle holding Orbital's LED strip. | 1 | |
| 11:42, 26 February 2023 | Orbital lamp interface.png (file) | 49 KB | Protectator | 1 | ||
| 00:54, 26 February 2023 | Orbital portable finished.jpg (file) | 357 KB | Protectator | 1 | ||
| 00:52, 26 February 2023 | Orbital FIXME finished.jpg (file) | 1.83 MB | Protectator | 1 | ||
| 00:30, 26 February 2023 | Orbital portable simple diagram.png (file) | 62 KB | Protectator | 1 | ||
| 23:11, 25 February 2023 | Orbital portable sequence diagram calls.png (file) | 87 KB | Protectator | 3 | ||
| 22:10, 25 February 2023 | Orbita-logo-full.png (file) | 65 KB | Protectator | 1 | ||
| 15:19, 29 December 2022 | Odoo-fields2.png (file) | 255 KB | Rorist | 1 | ||
| 15:10, 29 December 2022 | Odoo-fields.png (file) | 318 KB | Rorist | 1 | ||
| 12:56, 4 November 2022 | Burger.png (file) | 311 KB | Rorist | 1 | ||
| 12:55, 4 November 2022 | Burger-oeuf.pdf (file) | 518 KB | Rorist | 1 | ||
| 20:04, 27 October 2022 | Noise-2022 2.jpg (file) | 4.03 MB | Rorist | 1 | ||
| 17:42, 30 June 2022 | Learn How To Make Electronics Poster.png (file) | 964 KB | Rorist | 1 | ||
| 15:15, 5 April 2022 | Gas installation.jpg (file) | 454 KB | Francois | 1 | ||
| 15:11, 5 April 2022 | Connector.jpg (file) | 129 KB | Francois | 1 | ||
| 15:09, 5 April 2022 | Gas regulator.jpg (file) | 400 KB | Francois | 1 | ||
| 15:03, 5 April 2022 | Spain adapter2.jpg (file) | 374 KB | Francois | 1 | ||
| 14:56, 5 April 2022 | Spain adapter.jpg (file) | 302 KB | Francois | 1 | ||
| 14:53, 5 April 2022 | Spain tank.jpg (file) | 227 KB | Francois | 1 | ||
| 23:03, 11 February 2022 | Twint-logo-qrcode.png (file) | 27 KB | Protectator | 2 | ||
| 00:46, 5 February 2022 | Twint-fridge-qr.png (file) | 2 KB | Binary Brain | 1 | ||
| 23:37, 2 January 2022 | Noise-2022.jpg (file) | 437 KB | Rorist | 1 | ||
| 14:16, 24 September 2021 | FluksoConfig.pdf (file) | 158 KB | Tim | 1 | ||
| 16:12, 23 September 2021 | Status 1.PNG (file) | 23 KB | Tim | 1 | ||
| 16:11, 23 September 2021 | Sensor 3.PNG (file) | 25 KB | Tim | 1 |
First page |
Previous page |
Next page |
Last page |